不同的球场照明灯光标准也是不一样的,为了满足专业比赛的照明要求,就需要结合场地实际情况,设计照明灯光。下文就为大家带来灯光球场照明标准,感兴趣的朋友赶快来看看吧!

灯光球场照明标准要求:
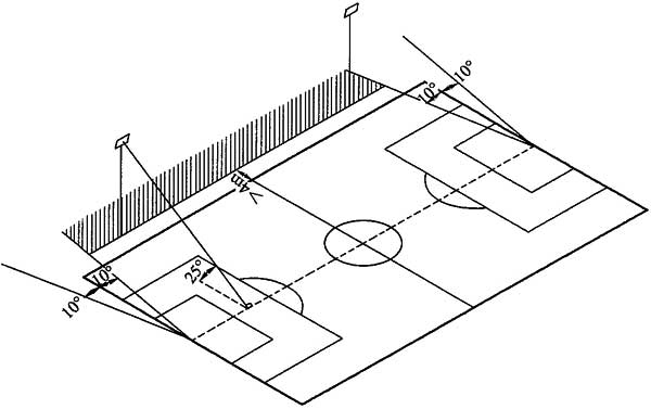
足球场灯具布置应符合下列规定:
无电视转播时宜采用场地两侧或场地四角布置方式,并应符合下列规定:
1)采用场地两侧灯杆布置方式时,灯具不宜布置在球门中心点沿底线两侧10°的范围内,灯杆底部与场地边线之间的距离不应小于4m,灯具高度宜满足灯具到场地中心线的垂直连线与场地平面之间的夹角不小于25°;

2)采用场地四角布置方式时,灯杆底部到场地边线中点的连线与场地边线之间的夹角不宜小于5°,且灯杆底部到底线中点的连线与底线之间的夹角不宜小于10°,灯具高度宜满足灯拍中心到场地中心的连线与场地平面之间的夹角不小于25°
网球场灯具布置应符合下列规定:
对没有或只有少量观众席的网球场地,宜采用场地两侧灯杆布置方式,灯杆应布置在观众席的后侧;对有观众席、有较高挑篷且灯杆无法布置的网球场地,宜采用场地两侧马道布置或与观众席上方的顶棚结合布置。
采用两侧灯杆布置方式时,灯杆的位置应满足下图的要求。

场地两侧宜采用对称的灯具布置方式,提供相同的照明。
灯具的安装高度应满足下图要求,比赛场地灯具高度不应低于12m,训练场地灯具高度不应低于8m。
曲棍球场灯具布置应符合下列规定:
1使用两侧灯杆布置方式时,宜采用6杆或8杆,灯杆底部与场地边线之间的距离不应小于4m,灯杆底部与底线之间的距离不应小于5m,灯具高度宜满足灯具到场地中心线的垂直连线与场地平面之间的夹角不小于25°

灯光球场照明标准指标有哪些?
对观众而言,运动员的可见度既与垂直照度有关,又与水平照度有关。垂直照度取决于灯具的投射方向和位置。观众数量因赛场的不同差异较大,而观看距离与赛场的容量有关,所以赛场所要求的照度按要求随体育场的增大而增加。
此外,照度均匀度、眩光、色温、显色性等都是足球场照明水准的评判标准。
因此,足球场照明系统的要求必须同时可靠地实现多种功能,首先,必须提供完满的光照条件让球员充分展示自己的技能、让各位裁判可以清晰地作出判断、让位于各个角度的现场观众清晰观看到比赛实况与现场大屏幕报道。此外,必须满足现场电视转播设备的要求;最后,必须遵守规定的参数、考虑光照的经济需求以及光污染情况等方面。
以上就是小编搜集整理的“灯光球场照明标准是什么?”全部内容,想了解更多照明知识的用户,可以关注我们的后续更新!